Egy beépített állvánnyal ellátott, könyvszerűen nyíló összecsukható telefonra nyújtott be szabadalmat 2025. április 23-án a Microsoft, amelyet az USPTO (az Egyesült Államok Szabadalmi és Védjegyhivatala) augusztus 7-én hivatalosan jóváhagyott. A dokumentum 37 oldalon részletezi a mechanikus felépítést és a működési logikát, és ezúttal nem egy múltba ragadt koncepcióról, hanem egy láthatóan aktuális fejlesztési irányról van szó.
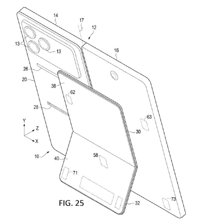
A „Kickstand for Opening Foldable Computing Device” nevű megoldással a Microsoft nem egyszerűen egy újabb összecsukható eszközre szabadalmaztatott dizájnt, hanem egy stabil, asztalra helyezhető, egy kézzel is nyitható készüléket képzelt el. A szabadalomban leírt telefon két kijelzőből áll, amelyeket egy összetett zsanérrendszer kapcsol össze. A cél a könnyű nyithatóság, valamint a kinyitott pozíció rögzítése mágnesekkel és mechanikus zárral, akár rugós, akár motoros megoldással.
Az állvány két fő elemből épül fel: a felső lapból, amit ujjunkkal lenyomva indítható a nyitás, és az alsó, hajlítható támasztólapból, amely fix támasztékot biztosít az eszköz számára. Ez az integrált „kickstand” a Microsoft szerint előnyt jelenthet a Galaxy Fold sorozattal szemben, de még a saját Surface Duo kísérletükhöz képest is.
A Microsoft többször próbálkozott már mobilos visszatéréssel, de eddig minden esetben félkész termékekbe fulladt az ambíció. A Surface Duo nem váltotta be a hozzá fűzött reményeket, részben az Android implementáció, részben a hardver korlátai miatt. A mostani szabadalom viszont a részletessége és technikai mélysége alapján komolyabb szándékot jelez, mint korábban bármelyik koncepció.
Egyelőre nincs információ arról, hogy a leírt eszköz mikor és milyen formában kerülhet piacra – vagy egyáltalán eljut-e odáig –, de ha gyártásba kerül, az első olyan összecsukható telefon lehet, amelynél a stabil kitámasztás nem kiegészítő, hanem alapfunkció.







